自去年以来,分析师一直声称苹果将在未来的 iPhone 系列中添加潜望镜摄像头。早在 3 月份,人们就认为我们可能要到 2023 年才能看到任何配备它的 iPhone 。无论如何,苹果潜望镜相机的新专利已经被发现。
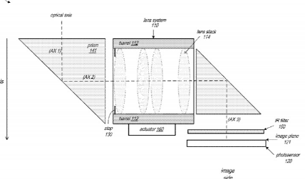
根据Patently Apple 的说法,这家库比蒂诺公司刚刚获得了欧洲专利商标局的“折叠相机”专利。它提到在移动设备中使用多镜头系统“以低 F 值捕获高分辨率、高质量的图像”。顺便说一下,这里的 F 可能指的是镜头的光圈。基本上,它描述的是潜望镜相机模块。
此前有传言称,苹果将为 2023 款 iPhone 系列配备潜望式摄像头。但该公司可能不会将其仅限于 iPhone,因为该专利还提到了“平板电脑和平板设备”。这可能意味着 Apple 正在考虑将其添加到 iPad 中,尽管它不是最实用的实现方式。









